龙虎榜 | 国华网安今日跌5.82%,知名游资炒股养家卖出579.41万元
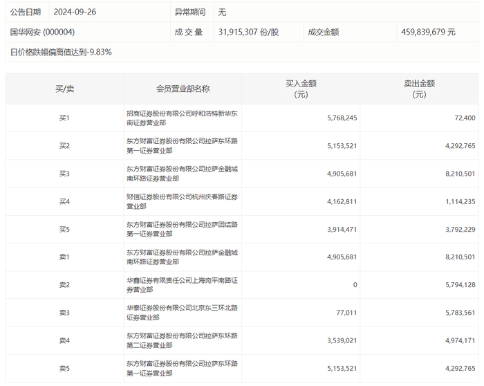
国华网安今日跌5.82%,龙虎榜数据显示,上榜营业部席位全天成交6155.48万元,占当日总成交金额比例为13.39%币安卖出。其中,买入金额为2752.08万元,卖出金额为3403.4万元,合计净卖出651.32万元。
具体来看,知名游资现身龙虎榜,东方财富证券拉萨金融城南环路证券营业部、炒股养家(华鑫证券上海宛平南路证券营业部)分别卖出821.05万元、579.41万元;招商证券呼和浩特新华东街证券营业部、东方财富证券拉萨东环路第一证券营业部分别买入576.82万元、515.35万元币安卖出。

版权声明:如无特殊标注,文章均为本站原创,转载时请以链接形式注明文章出处。









评论